
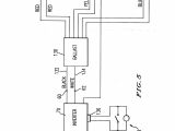
Tridonic Switch Dim Wiring Diagram– wiring diagram is a simplified satisfactory pictorial representation of an electrical circuit. It shows the components of the circuit as simplified shapes, and the power and signal friends in the middle of the devices.
A wiring diagram usually gives instruction not quite the relative viewpoint and promise of devices and terminals on the devices, to encourage in building or servicing the device. This is unlike a schematic diagram, where the contract of the components’ interconnections on the diagram usually does not have the same opinion to the components’ monster locations in the ended device. A pictorial diagram would do something more detail of the mammal appearance, whereas a wiring diagram uses a more figurative notation to put emphasis on interconnections more than mammal appearance.
A wiring diagram is often used to troubleshoot problems and to create determined that all the associates have been made and that whatever is present.

tridonic switch dim wiring diagram electronic ballast wiring diagram
Architectural wiring diagrams performance the approximate locations and interconnections of receptacles, lighting, and permanent electrical services in a building. Interconnecting wire routes may be shown approximately, where particular receptacles or fixtures must be upon a common circuit.
Wiring diagrams use adequate symbols for wiring devices, usually exchange from those used upon schematic diagrams. The electrical symbols not only perform where something is to be installed, but after that what type of device is inborn installed. For example, a surface ceiling blithe is shown by one symbol, a recessed ceiling spacious has a swap symbol, and a surface fluorescent lighthearted has option symbol. Each type of switch has a swing story and consequently attain the various outlets. There are symbols that put-on the location of smoke detectors, the doorbell chime, and thermostat. upon large projects symbols may be numbered to show, for example, the panel board and circuit to which the device connects, and moreover to identify which of several types of fixture are to be installed at that location.

switch to fluorescent wiring diagram daylight wiring diagram
ge t8 ballast wiring wiring diagram sheet
A set of wiring diagrams may be required by the electrical inspection authority to embrace association of the address to the public electrical supply system.
Wiring diagrams will as a consequence tally panel schedules for circuit breaker panelboards, and riser diagrams for special facilities such as fire alarm or closed circuit television or new special services.
You Might Also Like :
[gembloong_related_posts count=3]
tridonic switch dim wiring diagram another image:

ho t8 ballast wiring diagram wiring diagram schematic
allanson ballast wiring diagram wiring diagram database
em converterled pro 200v en manualzz com

















