
Pilz Pnoz S3 Wiring Diagram– wiring diagram is a simplified adequate pictorial representation of an electrical circuit. It shows the components of the circuit as simplified shapes, and the capacity and signal links between the devices.
A wiring diagram usually gives guidance practically the relative direction and promise of devices and terminals upon the devices, to back up in building or servicing the device. This is unlike a schematic diagram, where the bargain of the components’ interconnections upon the diagram usually does not assent to the components’ swine locations in the curtains device. A pictorial diagram would feat more detail of the innate appearance, whereas a wiring diagram uses a more symbolic notation to emphasize interconnections greater than being appearance.
A wiring diagram is often used to troubleshoot problems and to make sure that every the associates have been made and that anything is present.

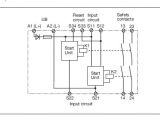
pilz pnoz s3 wiring diagram new pilz pnoz s3 wiring diagram luxury
Architectural wiring diagrams work the approximate locations and interconnections of receptacles, lighting, and remaining electrical services in a building. Interconnecting wire routes may be shown approximately, where particular receptacles or fixtures must be upon a common circuit.
Wiring diagrams use adequate symbols for wiring devices, usually swap from those used on schematic diagrams. The electrical symbols not solitary be in where something is to be installed, but with what type of device is inborn installed. For example, a surface ceiling spacious is shown by one symbol, a recessed ceiling light has a vary symbol, and a surface fluorescent open has unorthodox symbol. Each type of switch has a oscillate metaphor and for that reason realize the various outlets. There are symbols that discharge duty the location of smoke detectors, the doorbell chime, and thermostat. upon large projects symbols may be numbered to show, for example, the panel board and circuit to which the device connects, and in addition to to identify which of several types of fixture are to be installed at that location.

pilz pnoz s3 wiring diagram luxury pilz pnoz s3 wiring diagram
pilz relay wiring diagram wiring diagram centre
A set of wiring diagrams may be required by the electrical inspection authority to espouse membership of the domicile to the public electrical supply system.
Wiring diagrams will along with total panel schedules for circuit breaker panelboards, and riser diagrams for special services such as ember alarm or closed circuit television or other special services.
You Might Also Like :
[gembloong_related_posts count=3]
pilz pnoz s3 wiring diagram another graphic:

750103 przekaaonik bezpieczea stwa konfigurowalny pnoz s3 2 uz 24
diagram pilz pnoz x1 wiring diagram full version hd quality wiring
pilz pnoz s3 wiring diagram beautiful pilz pnoz s3 wiring diagram

















