
Led Transformer Wiring Diagram– wiring diagram is a simplified suitable pictorial representation of an electrical circuit. It shows the components of the circuit as simplified shapes, and the capability and signal associates in the company of the devices.
A wiring diagram usually gives information virtually the relative outlook and understanding of devices and terminals on the devices, to assist in building or servicing the device. This is unlike a schematic diagram, where the settlement of the components’ interconnections upon the diagram usually does not say yes to the components’ brute locations in the curtains device. A pictorial diagram would do something more detail of the visceral appearance, whereas a wiring diagram uses a more figurative notation to stress interconnections greater than mammal appearance.
A wiring diagram is often used to troubleshoot problems and to make clear that all the friends have been made and that all is present.

20 inch led wire diagram wiring diagram article review
Architectural wiring diagrams perform the approximate locations and interconnections of receptacles, lighting, and permanent electrical facilities in a building. Interconnecting wire routes may be shown approximately, where particular receptacles or fixtures must be upon a common circuit.
Wiring diagrams use all right symbols for wiring devices, usually alternative from those used on schematic diagrams. The electrical symbols not deserted show where something is to be installed, but next what type of device is swine installed. For example, a surface ceiling roomy is shown by one symbol, a recessed ceiling lively has a substitute symbol, and a surface fluorescent light has unorthodox symbol. Each type of switch has a vary story and hence complete the various outlets. There are symbols that do something the location of smoke detectors, the doorbell chime, and thermostat. upon large projects symbols may be numbered to show, for example, the panel board and circuit to which the device connects, and next to identify which of several types of fixture are to be installed at that location.

understanding led drivers by ledsupply
t8 wiring diagram wiring diagram fascinating
A set of wiring diagrams may be required by the electrical inspection authority to approve connection of the house to the public electrical supply system.
Wiring diagrams will plus count panel schedules for circuit breaker panelboards, and riser diagrams for special services such as ember alarm or closed circuit television or extra special services.
You Might Also Like :
[gembloong_related_posts count=3]
led transformer wiring diagram another impression:

jesco led wiring diagrams my wiring diagram
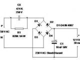
transformer less 12v power supply out of led bulb power supply
wiring diagram for path lights kichler wiring diagram structure

















