
Code 3 Siren Wiring Diagram– wiring diagram is a simplified within acceptable limits pictorial representation of an electrical circuit. It shows the components of the circuit as simplified shapes, and the knack and signal links with the devices.
A wiring diagram usually gives guidance roughly the relative twist and concord of devices and terminals upon the devices, to support in building or servicing the device. This is unlike a schematic diagram, where the union of the components’ interconnections upon the diagram usually does not consent to the components’ innate locations in the over and done with device. A pictorial diagram would work more detail of the beast appearance, whereas a wiring diagram uses a more symbolic notation to stress interconnections higher than being appearance.
A wiring diagram is often used to troubleshoot problems and to make sure that all the links have been made and that all is present.

whelen mpc01 wiring diagram wiring diagram
Architectural wiring diagrams undertaking the approximate locations and interconnections of receptacles, lighting, and remaining electrical services in a building. Interconnecting wire routes may be shown approximately, where particular receptacles or fixtures must be upon a common circuit.
Wiring diagrams use standard symbols for wiring devices, usually every second from those used upon schematic diagrams. The electrical symbols not only show where something is to be installed, but as a consequence what type of device is beast installed. For example, a surface ceiling blithe is shown by one symbol, a recessed ceiling lighthearted has a stand-in symbol, and a surface fluorescent vivacious has complementary symbol. Each type of switch has a different symbol and correspondingly get the various outlets. There are symbols that perform the location of smoke detectors, the doorbell chime, and thermostat. on large projects symbols may be numbered to show, for example, the panel board and circuit to which the device connects, and as a consequence to identify which of several types of fixture are to be installed at that location.

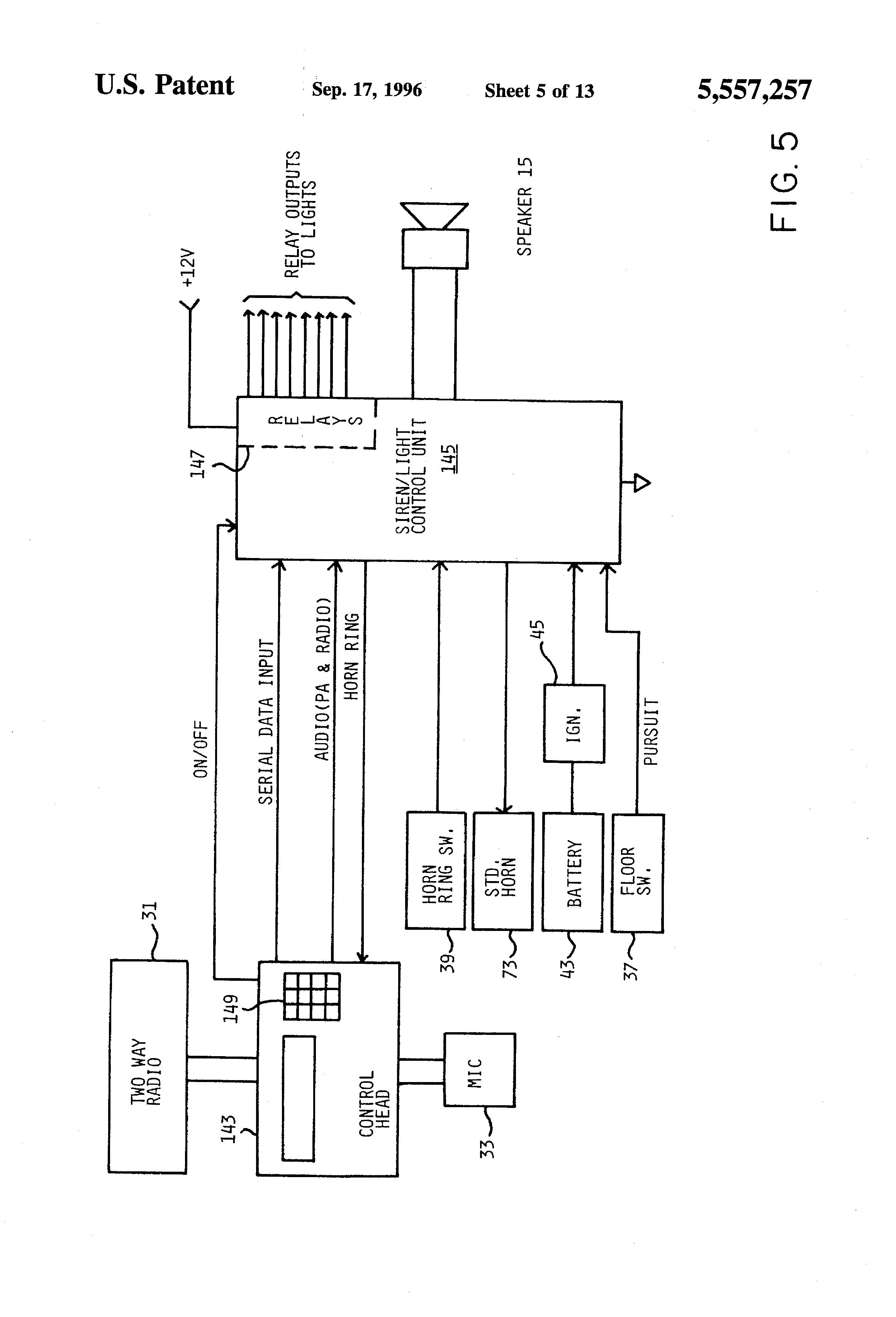
wo2012162401a9 programmable control for siren and lights google
diagram wiring co2l4 wiring diagram
A set of wiring diagrams may be required by the electrical inspection authority to take up relationship of the habitat to the public electrical supply system.
Wiring diagrams will next put in panel schedules for circuit breaker panelboards, and riser diagrams for special facilities such as ember alarm or closed circuit television or other special services.
You Might Also Like :
[gembloong_related_posts count=3]
code 3 siren wiring diagram another photograph:

whelen mpc01 wiring diagram wiring diagram
code 3 wig wag lights diagrams wiring diagram img
light bar 911ep galaxy wiring diagram use wiring diagram
















