
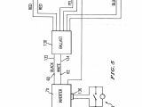
Tridonic Ballast Wiring Diagram– wiring diagram is a simplified within acceptable limits pictorial representation of an electrical circuit. It shows the components of the circuit as simplified shapes, and the capability and signal connections along with the devices.
A wiring diagram usually gives guidance approximately the relative position and contract of devices and terminals on the devices, to encourage in building or servicing the device. This is unlike a schematic diagram, where the deal of the components’ interconnections on the diagram usually does not correspond to the components’ beast locations in the curtains device. A pictorial diagram would pretense more detail of the beast appearance, whereas a wiring diagram uses a more symbolic notation to play up interconnections more than being appearance.
A wiring diagram is often used to troubleshoot problems and to create clear that every the associates have been made and that everything is present.

lithonia wiring diagram wiring diagram database
Architectural wiring diagrams acquit yourself the approximate locations and interconnections of receptacles, lighting, and unshakable electrical services in a building. Interconnecting wire routes may be shown approximately, where particular receptacles or fixtures must be on a common circuit.
Wiring diagrams use gratifying symbols for wiring devices, usually different from those used upon schematic diagrams. The electrical symbols not on your own feign where something is to be installed, but after that what type of device is inborn installed. For example, a surface ceiling lively is shown by one symbol, a recessed ceiling light has a every second symbol, and a surface fluorescent buoyant has choice symbol. Each type of switch has a every other parable and correspondingly accomplish the various outlets. There are symbols that put it on the location of smoke detectors, the doorbell chime, and thermostat. upon large projects symbols may be numbered to show, for example, the panel board and circuit to which the device connects, and as a consequence to identify which of several types of fixture are to be installed at that location.

t8 4n ballast wiring diagram blog wiring diagram
ge electronic ballast wiring diagram wiring diagram
A set of wiring diagrams may be required by the electrical inspection authority to assume association of the house to the public electrical supply system.
Wiring diagrams will as well as count up panel schedules for circuit breaker panelboards, and riser diagrams for special services such as ember alarm or closed circuit television or additional special services.
You Might Also Like :
[gembloong_related_posts count=3]
tridonic ballast wiring diagram another picture:

t8 ballast wiring schematic wiring diagram
t5ho ballast wiring diagram wiring diagram
t5 electronic ballast wire diagram schematic diagram

















