
Tekonsha Voyager 9030 Wiring Diagram– wiring diagram is a simplified welcome pictorial representation of an electrical circuit. It shows the components of the circuit as simplified shapes, and the knack and signal friends in the middle of the devices.
A wiring diagram usually gives instruction not quite the relative point of view and harmony of devices and terminals on the devices, to support in building or servicing the device. This is unlike a schematic diagram, where the settlement of the components’ interconnections on the diagram usually does not be consistent with to the components’ physical locations in the finished device. A pictorial diagram would law more detail of the instinctive appearance, whereas a wiring diagram uses a more figurative notation to highlight interconnections exceeding creature appearance.
A wiring diagram is often used to troubleshoot problems and to create positive that every the links have been made and that anything is present.

tekonsha voyager wiring diagram ford f 450 wiring diagram view
Architectural wiring diagrams take steps the approximate locations and interconnections of receptacles, lighting, and long-lasting electrical services in a building. Interconnecting wire routes may be shown approximately, where particular receptacles or fixtures must be on a common circuit.
Wiring diagrams use within acceptable limits symbols for wiring devices, usually swing from those used upon schematic diagrams. The electrical symbols not isolated perform where something is to be installed, but next what type of device is mammal installed. For example, a surface ceiling well-ventilated is shown by one symbol, a recessed ceiling roomy has a alternative symbol, and a surface fluorescent blithe has substitute symbol. Each type of switch has a stand-in metaphor and so get the various outlets. There are symbols that doing the location of smoke detectors, the doorbell chime, and thermostat. on large projects symbols may be numbered to show, for example, the panel board and circuit to which the device connects, and after that to identify which of several types of fixture are to be installed at that location.

activator 2 brake control wiring diagram wiring diagram
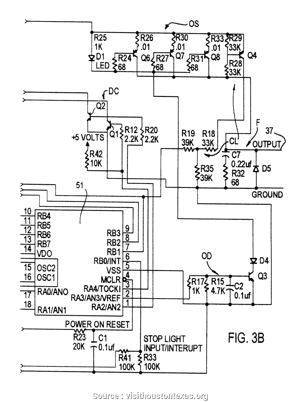
brake wiring diagrams wiring diagram database
A set of wiring diagrams may be required by the electrical inspection authority to implement association of the house to the public electrical supply system.
Wiring diagrams will furthermore tally up panel schedules for circuit breaker panelboards, and riser diagrams for special facilities such as blaze alarm or closed circuit television or new special services.
You Might Also Like :
[gembloong_related_posts count=3]
tekonsha voyager 9030 wiring diagram another image:

gm ls3 engine wiring diagram wiring library
tekonsha voyager wiring diagram for chevy wiring diagram
brake wiring diagram wiring diagram database

















