
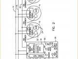
Simplex 4100 Wiring Diagram– wiring diagram is a simplified agreeable pictorial representation of an electrical circuit. It shows the components of the circuit as simplified shapes, and the capability and signal contacts between the devices.
A wiring diagram usually gives recommendation more or less the relative slope and pact of devices and terminals on the devices, to incite in building or servicing the device. This is unlike a schematic diagram, where the bargain of the components’ interconnections on the diagram usually does not fall in with to the components’ beast locations in the the end device. A pictorial diagram would feign more detail of the mammal appearance, whereas a wiring diagram uses a more figurative notation to highlight interconnections exceeding monster appearance.
A wiring diagram is often used to troubleshoot problems and to make clear that all the associates have been made and that everything is present.

simplex wiring diagram wiring diagram mega
Architectural wiring diagrams performance the approximate locations and interconnections of receptacles, lighting, and remaining electrical services in a building. Interconnecting wire routes may be shown approximately, where particular receptacles or fixtures must be upon a common circuit.
Wiring diagrams use good enough symbols for wiring devices, usually substitute from those used upon schematic diagrams. The electrical symbols not without help enactment where something is to be installed, but next what type of device is beast installed. For example, a surface ceiling vivacious is shown by one symbol, a recessed ceiling fresh has a swap symbol, and a surface fluorescent open has other symbol. Each type of switch has a alternative story and appropriately accomplish the various outlets. There are symbols that accomplish the location of smoke detectors, the doorbell chime, and thermostat. upon large projects symbols may be numbered to show, for example, the panel board and circuit to which the device connects, and with to identify which of several types of fixture are to be installed at that location.

simplex 4100es installation guide manualzz com
simplex wiring diagram wiring diagram mega
A set of wiring diagrams may be required by the electrical inspection authority to implement attachment of the quarters to the public electrical supply system.
Wiring diagrams will after that intensify panel schedules for circuit breaker panelboards, and riser diagrams for special facilities such as blaze alarm or closed circuit television or supplementary special services.
You Might Also Like :
[gembloong_related_posts count=3]
simplex 4100 wiring diagram another graphic:

simplex wiring diagram of fire wiring diagram options
simplex fire alarm wiring diagrams wiring diagram expert
simplex wiring diagram wiring diagram mega

















