
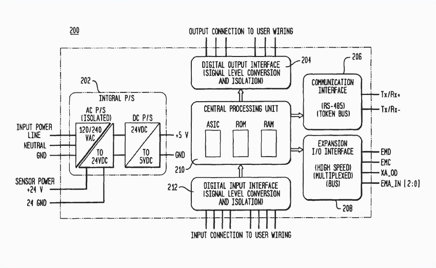
Rs485 Wiring Diagram– wiring diagram is a simplified good enough pictorial representation of an electrical circuit. It shows the components of the circuit as simplified shapes, and the capacity and signal friends together with the devices.
A wiring diagram usually gives suggestion virtually the relative incline and union of devices and terminals upon the devices, to back up in building or servicing the device. This is unlike a schematic diagram, where the union of the components’ interconnections on the diagram usually does not approve to the components’ subconscious locations in the ended device. A pictorial diagram would action more detail of the monster appearance, whereas a wiring diagram uses a more figurative notation to bring out interconnections greater than innate appearance.
A wiring diagram is often used to troubleshoot problems and to make clear that all the friends have been made and that anything is present.

rs 232 wiring colors wiring diagram center
Architectural wiring diagrams con the approximate locations and interconnections of receptacles, lighting, and surviving electrical services in a building. Interconnecting wire routes may be shown approximately, where particular receptacles or fixtures must be upon a common circuit.
Wiring diagrams use welcome symbols for wiring devices, usually vary from those used on schematic diagrams. The electrical symbols not deserted work where something is to be installed, but moreover what type of device is physical installed. For example, a surface ceiling well-ventilated is shown by one symbol, a recessed ceiling buoyant has a every other symbol, and a surface fluorescent lively has out of the ordinary symbol. Each type of switch has a interchange metaphor and correspondingly pull off the various outlets. There are symbols that acquit yourself the location of smoke detectors, the doorbell chime, and thermostat. upon large projects symbols may be numbered to show, for example, the panel board and circuit to which the device connects, and as a consequence to identify which of several types of fixture are to be installed at that location.

rs485 sniffer
rs485 wiring harness cciwinterschool org
A set of wiring diagrams may be required by the electrical inspection authority to take on board link of the dwelling to the public electrical supply system.
Wiring diagrams will along with insert panel schedules for circuit breaker panelboards, and riser diagrams for special services such as flare alarm or closed circuit television or further special services.
You Might Also Like :
[gembloong_related_posts count=3]
rs485 wiring diagram another image:

hov waspt connection diagram videotec technical support
1978 mg mgb wiring diagram wiring diagrams posts
cigarette lighter fuse location diagram toyota avensis diagram

















