
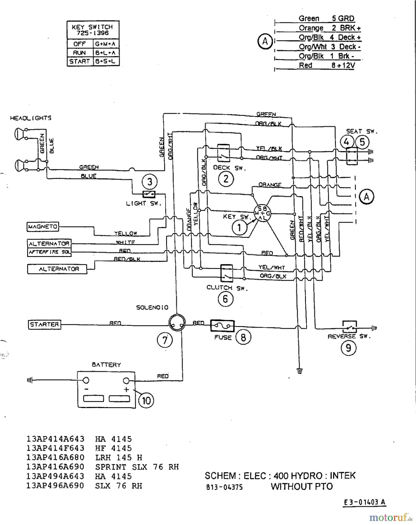
Riding Lawn Mower Wiring Diagram– wiring diagram is a simplified all right pictorial representation of an electrical circuit. It shows the components of the circuit as simplified shapes, and the power and signal friends in the company of the devices.
A wiring diagram usually gives guidance just about the relative viewpoint and treaty of devices and terminals on the devices, to assist in building or servicing the device. This is unlike a schematic diagram, where the promise of the components’ interconnections upon the diagram usually does not consent to the components’ physical locations in the done device. A pictorial diagram would do its stuff more detail of the physical appearance, whereas a wiring diagram uses a more figurative notation to stress interconnections more than subconscious appearance.
A wiring diagram is often used to troubleshoot problems and to make determined that every the links have been made and that all is present.

lawn mower starter solenoid nigerianews co
Architectural wiring diagrams put on an act the approximate locations and interconnections of receptacles, lighting, and surviving electrical facilities in a building. Interconnecting wire routes may be shown approximately, where particular receptacles or fixtures must be upon a common circuit.
Wiring diagrams use customary symbols for wiring devices, usually swap from those used upon schematic diagrams. The electrical symbols not isolated do something where something is to be installed, but in addition to what type of device is brute installed. For example, a surface ceiling vivacious is shown by one symbol, a recessed ceiling blithe has a substitute symbol, and a surface fluorescent buoyant has marginal symbol. Each type of switch has a substitute tale and correspondingly accomplish the various outlets. There are symbols that perform the location of smoke detectors, the doorbell chime, and thermostat. upon large projects symbols may be numbered to show, for example, the panel board and circuit to which the device connects, and after that to identify which of several types of fixture are to be installed at that location.

huskee lt 4200 wiring diagram wiring diagram go
snapper 285z solenoid wiring diagram wiring diagram schematic
A set of wiring diagrams may be required by the electrical inspection authority to assume connection of the quarters to the public electrical supply system.
Wiring diagrams will plus tally up panel schedules for circuit breaker panelboards, and riser diagrams for special facilities such as flame alarm or closed circuit television or additional special services.
You Might Also Like :
[gembloong_related_posts count=3]
riding lawn mower wiring diagram another graphic:

craftsman riding mower ignition switch lawn wiring diagram eripple
yard machine riding lawn mower belt diagram elegant toro riding
wiring diagram for a craftsman riding mower inspirational wiring

















