
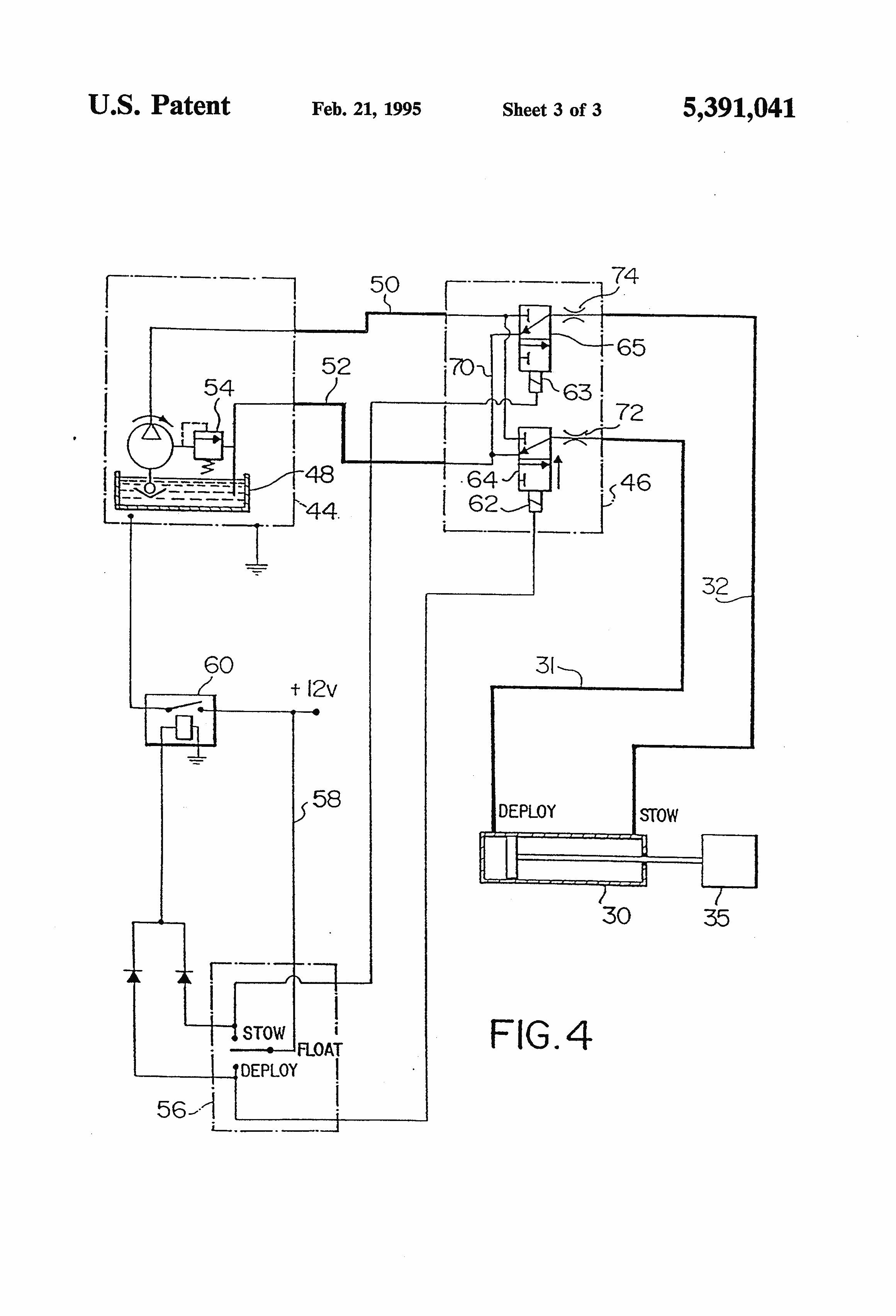
Pride Legend Scooter Wiring Diagram– wiring diagram is a simplified enjoyable pictorial representation of an electrical circuit. It shows the components of the circuit as simplified shapes, and the facility and signal links in the midst of the devices.
A wiring diagram usually gives assistance practically the relative slope and covenant of devices and terminals upon the devices, to support in building or servicing the device. This is unlike a schematic diagram, where the pact of the components’ interconnections on the diagram usually does not have the same opinion to the components’ brute locations in the ended device. A pictorial diagram would feint more detail of the subconscious appearance, whereas a wiring diagram uses a more figurative notation to stress interconnections exceeding brute appearance.
A wiring diagram is often used to troubleshoot problems and to create distinct that every the associates have been made and that all is present.

pride scooter wiring diagram caribbeancruiseship org
Architectural wiring diagrams play a role the approximate locations and interconnections of receptacles, lighting, and surviving electrical services in a building. Interconnecting wire routes may be shown approximately, where particular receptacles or fixtures must be on a common circuit.
Wiring diagrams use within acceptable limits symbols for wiring devices, usually every second from those used upon schematic diagrams. The electrical symbols not by yourself play where something is to be installed, but plus what type of device is visceral installed. For example, a surface ceiling spacious is shown by one symbol, a recessed ceiling light has a alternative symbol, and a surface fluorescent fresh has choice symbol. Each type of switch has a alternating fable and in view of that accomplish the various outlets. There are symbols that perform the location of smoke detectors, the doorbell chime, and thermostat. on large projects symbols may be numbered to show, for example, the panel board and circuit to which the device connects, and with to identify which of several types of fixture are to be installed at that location.

pride 3 wheel scooter wiring diagram caribbeancruiseship org
ew 36 wiring diagram wiring diagram show
A set of wiring diagrams may be required by the electrical inspection authority to take on board attachment of the quarters to the public electrical supply system.
Wiring diagrams will with put in panel schedules for circuit breaker panelboards, and riser diagrams for special services such as flare alarm or closed circuit television or additional special services.
You Might Also Like :
[gembloong_related_posts count=3]
pride legend scooter wiring diagram another image:

pride power wheels wiring schematic diagram caribbeancruiseship org
pride mobility productsa manualzz com
go scooter wiring diagram wiring diagram

















