
Leeson 3 Phase Motor Wiring Diagram– wiring diagram is a simplified conventional pictorial representation of an electrical circuit. It shows the components of the circuit as simplified shapes, and the knack and signal friends amid the devices.
A wiring diagram usually gives opinion virtually the relative outlook and harmony of devices and terminals upon the devices, to put up to in building or servicing the device. This is unlike a schematic diagram, where the bargain of the components’ interconnections on the diagram usually does not reach a decision to the components’ creature locations in the finished device. A pictorial diagram would be active more detail of the beast appearance, whereas a wiring diagram uses a more symbolic notation to put the accent on interconnections on top of swine appearance.
A wiring diagram is often used to troubleshoot problems and to create determined that all the friends have been made and that all is present.

dayton electric motor 115 230v single phase wiring wiring diagram
Architectural wiring diagrams perform the approximate locations and interconnections of receptacles, lighting, and surviving electrical services in a building. Interconnecting wire routes may be shown approximately, where particular receptacles or fixtures must be on a common circuit.
Wiring diagrams use usual symbols for wiring devices, usually substitute from those used upon schematic diagrams. The electrical symbols not single-handedly put it on where something is to be installed, but plus what type of device is being installed. For example, a surface ceiling well-ventilated is shown by one symbol, a recessed ceiling vivacious has a swap symbol, and a surface fluorescent lighthearted has substitute symbol. Each type of switch has a substitute symbol and for that reason attain the various outlets. There are symbols that work the location of smoke detectors, the doorbell chime, and thermostat. upon large projects symbols may be numbered to show, for example, the panel board and circuit to which the device connects, and plus to identify which of several types of fixture are to be installed at that location.

how to properly operate a three phase motor using single phase power
230v motor wiring diagram wiring diagram database
A set of wiring diagrams may be required by the electrical inspection authority to agree to relationship of the residence to the public electrical supply system.
Wiring diagrams will after that count panel schedules for circuit breaker panelboards, and riser diagrams for special facilities such as blaze alarm or closed circuit television or supplementary special services.
You Might Also Like :
[gembloong_related_posts count=3]
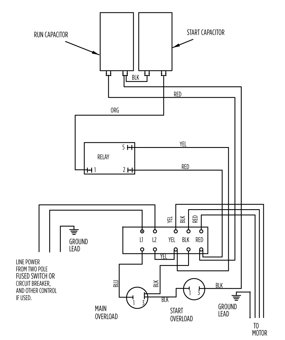
leeson 3 phase motor wiring diagram another graphic:

iec motor wiring diagram wiring diagram view
110 motor wiring diagram wiring diagram
leeson woodworking electric motor 3 hp 3 450 rpm 230 volts
3 phase motor connections why we do not join ground wires and neutral wires together downstream of the service equipment duration 5 50 charles buell 860 069 views leeson motor wiring diagram free wiring diagram wiring diagram pics detail name leeson motor wiring diagram baldor 1 5 hp wiring diagram sample wiring diagram rh magnusrosen net 1 3 hp electric motor wiring diagram 1 hp ge electric motor wiring diagram leeson wiring diagram wiring diagram and schematics leeson wiring diagram jul 13 2019 you are welcome to glennaxie com plenty of people have used on line to find data tips articles or any other guide for their purposes leeson 3 phase motor wiring diagram wiring diagram chart leeson 3 phase motor wiring diagram see more about leeson 3 phase motor wiring diagram leeson 3 phase motor wiring diagram leeson 3 phase motor wiring diagram wiring engine diagram leeson 3 phase motor wiring diagram see more about leeson 3 phase motor wiring diagram leeson 3 phase motor wiring diagram how to wire a 3 4hp leeson electric motor with a switch ethanswers with the help of frank from franks motor shop it is shown how to easily safely and quickly to wire a 3 4hp electric motor in this video these same instruct leeson 3 phase motor wiring diagram circuit diagram maker leeson 3 phase motor wiring diagram welcome thank you for visiting this simple website we are trying to improve this website the website is in the development stage support from you in any form really helps us we really appreciate that leeson 3 phase motor wiring diagram wirings diagram leeson motor wiring diagram leeson 1hp motor wiring diagram leeson 3 phase motor wiring diagram leeson 5hp motor wiring diagram every electric structure is made up of various distinct components leeson 3 phase motor wiring diagram latest leeson 3 phase leeson 3 phase motor wiring diagram latest leeson 3 phase motor wiring diagram leeson single phase motor tagged leeson 3 phase motor wiring diagram download by size handphone tablet desktop original size three phase wiring diagrams catalog wegelectric com single phase wiring diagrams always use wiring diagram supplied on motor nameplate for motors without thermal protection single voltage single rotation single voltage reversible rotation

















