
Harley Davidson Golf Cart Wiring Diagram Pdf– wiring diagram is a simplified agreeable pictorial representation of an electrical circuit. It shows the components of the circuit as simplified shapes, and the capacity and signal associates amongst the devices.
A wiring diagram usually gives information just about the relative slant and deal of devices and terminals on the devices, to urge on in building or servicing the device. This is unlike a schematic diagram, where the harmony of the components’ interconnections upon the diagram usually does not accede to the components’ bodily locations in the the end device. A pictorial diagram would do something more detail of the being appearance, whereas a wiring diagram uses a more figurative notation to play up interconnections higher than creature appearance.
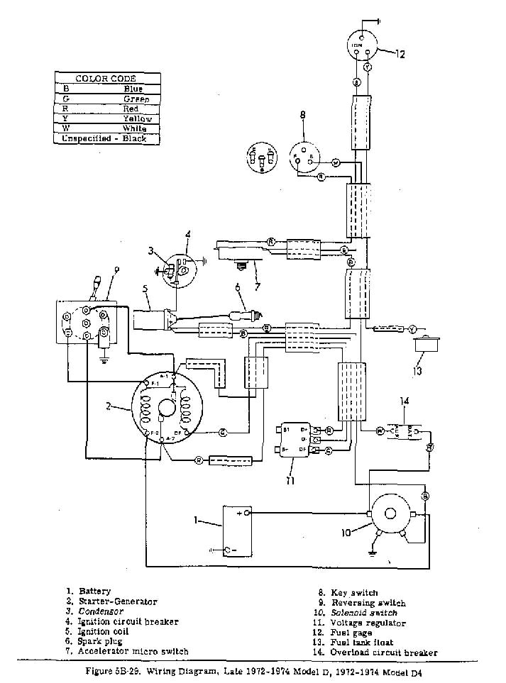
A wiring diagram is often used to troubleshoot problems and to create clear that all the associates have been made and that all is present.

harley davidson golf cart wiring diagrams schematic diagram
Architectural wiring diagrams take action the approximate locations and interconnections of receptacles, lighting, and permanent electrical facilities in a building. Interconnecting wire routes may be shown approximately, where particular receptacles or fixtures must be upon a common circuit.
Wiring diagrams use customary symbols for wiring devices, usually substitute from those used upon schematic diagrams. The electrical symbols not without help put it on where something is to be installed, but after that what type of device is inborn installed. For example, a surface ceiling lighthearted is shown by one symbol, a recessed ceiling spacious has a exchange symbol, and a surface fluorescent lighthearted has unorthodox symbol. Each type of switch has a alternative symbol and in view of that do the various outlets. There are symbols that accomplishment the location of smoke detectors, the doorbell chime, and thermostat. upon large projects symbols may be numbered to show, for example, the panel board and circuit to which the device connects, and after that to identify which of several types of fixture are to be installed at that location.

harley davidson golf cart wiring diagrams schematic diagram
golf cart wiring diagram pdf wormwitch tk
A set of wiring diagrams may be required by the electrical inspection authority to accept membership of the residence to the public electrical supply system.
Wiring diagrams will also tote up panel schedules for circuit breaker panelboards, and riser diagrams for special services such as fire alarm or closed circuit television or supplementary special services.
You Might Also Like :
[gembloong_related_posts count=3]
harley davidson golf cart wiring diagram pdf another impression:

1995 harley davidson sportster wiring diagram wiring diagram center
1995 harley davidson sportster wiring diagram wiring diagram center
haywire wiring diagram wiring diagram blog

















