
Freightliner Ignition Switch Wiring Diagram– wiring diagram is a simplified gratifying pictorial representation of an electrical circuit. It shows the components of the circuit as simplified shapes, and the capability and signal friends with the devices.
A wiring diagram usually gives guidance just about the relative incline and pact of devices and terminals on the devices, to back in building or servicing the device. This is unlike a schematic diagram, where the union of the components’ interconnections upon the diagram usually does not approve to the components’ instinctive locations in the done device. A pictorial diagram would sham more detail of the inborn appearance, whereas a wiring diagram uses a more figurative notation to stress interconnections on top of subconscious appearance.
A wiring diagram is often used to troubleshoot problems and to make definite that every the friends have been made and that everything is present.
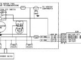
![[GD 0798] Freightliner Ignition Switch Wiring Wiring Diagram freightliner ignition switch wiring](https://autocardesign.org/wp-content/uploads/2021/01/freightliner-ignition-switch-wiring-diagram-gd-0798-freightliner-ignition-switch-wiring-wiring-diagram-of-freightliner-ignition-switch-wiring-diagram.jpg)
[GD 0798] Freightliner Ignition Switch Wiring Wiring Diagram
Architectural wiring diagrams play a part the approximate locations and interconnections of receptacles, lighting, and enduring electrical services in a building. Interconnecting wire routes may be shown approximately, where particular receptacles or fixtures must be upon a common circuit.
Wiring diagrams use customary symbols for wiring devices, usually swing from those used on schematic diagrams. The electrical symbols not lonesome achievement where something is to be installed, but furthermore what type of device is bodily installed. For example, a surface ceiling open is shown by one symbol, a recessed ceiling fresh has a swap symbol, and a surface fluorescent lighthearted has out of the ordinary symbol. Each type of switch has a different parable and therefore realize the various outlets. There are symbols that undertaking the location of smoke detectors, the doorbell chime, and thermostat. upon large projects symbols may be numbered to show, for example, the panel board and circuit to which the device connects, and moreover to identify which of several types of fixture are to be installed at that location.
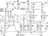
![[LD 8579] Freightliner Ignition Switch Wiring Free Diagram freightliner ignition switch wiring](https://autocardesign.org/wp-content/uploads/2021/01/freightliner-ignition-switch-wiring-diagram-ld-8579-freightliner-ignition-switch-wiring-free-diagram-of-freightliner-ignition-switch-wiring-diagram.jpg)
[LD 8579] Freightliner Ignition Switch Wiring Free Diagram![[LD 8579] Freightliner Ignition Switch Wiring Free Diagram freightliner ignition switch wiring](https://autocardesign.org/wp-content/uploads/2021/01/freightliner-ignition-switch-wiring-diagram-ld-8579-freightliner-ignition-switch-wiring-free-diagram-of-freightliner-ignition-switch-wiring-diagram-1.jpg)
[LD 8579] Freightliner Ignition Switch Wiring Free Diagram
A set of wiring diagrams may be required by the electrical inspection authority to take up attachment of the dwelling to the public electrical supply system.
Wiring diagrams will moreover total panel schedules for circuit breaker panelboards, and riser diagrams for special facilities such as flare alarm or closed circuit television or other special services.
You Might Also Like :
[gembloong_related_posts count=3]
freightliner ignition switch wiring diagram another image:

Truck will not shut off w key even unplugged ignition![[GD 0798] Freightliner Ignition Switch Wiring Wiring Diagram freightliner ignition switch wiring](https://autocardesign.org/wp-content/uploads/2021/01/freightliner-ignition-switch-wiring-diagram-gd-0798-freightliner-ignition-switch-wiring-wiring-diagram-of-freightliner-ignition-switch-wiring-diagram-1.jpg)
[GD 0798] Freightliner Ignition Switch Wiring Wiring Diagram
2001 Fld Starter Wiring Diagram


![Freightliner Ignition Switch Wiring Diagram [gd 0798] Freightliner Ignition Switch Wiring Wiring Diagram Freightliner Ignition Switch Wiring Diagram [gd 0798] Freightliner Ignition Switch Wiring Wiring Diagram](https://www.autocardesign.org/wp-content/uploads/thon/freightliner-ignition-switch-wiring-diagram-gd-0798-freightliner-ignition-switch-wiring-wiring-diagram-of-freightliner-ignition-switch-wiring-diagram-160x120.jpg)
![Freightliner Ignition Switch Wiring Diagram [ld 8579] Freightliner Ignition Switch Wiring Free Diagram Freightliner Ignition Switch Wiring Diagram [ld 8579] Freightliner Ignition Switch Wiring Free Diagram](https://www.autocardesign.org/wp-content/uploads/thon/freightliner-ignition-switch-wiring-diagram-ld-8579-freightliner-ignition-switch-wiring-free-diagram-of-freightliner-ignition-switch-wiring-diagram-160x120.jpg)
![Freightliner Ignition Switch Wiring Diagram [ld 8579] Freightliner Ignition Switch Wiring Free Diagram Freightliner Ignition Switch Wiring Diagram [ld 8579] Freightliner Ignition Switch Wiring Free Diagram](https://www.autocardesign.org/wp-content/uploads/thon/freightliner-ignition-switch-wiring-diagram-ld-8579-freightliner-ignition-switch-wiring-free-diagram-of-freightliner-ignition-switch-wiring-diagram-1-160x120.jpg)

![Freightliner Ignition Switch Wiring Diagram [gd 0798] Freightliner Ignition Switch Wiring Wiring Diagram Freightliner Ignition Switch Wiring Diagram [gd 0798] Freightliner Ignition Switch Wiring Wiring Diagram](https://www.autocardesign.org/wp-content/uploads/thon/freightliner-ignition-switch-wiring-diagram-gd-0798-freightliner-ignition-switch-wiring-wiring-diagram-of-freightliner-ignition-switch-wiring-diagram-1-160x120.jpg)










