
Franklin Control Box Wiring Diagram– wiring diagram is a simplified welcome pictorial representation of an electrical circuit. It shows the components of the circuit as simplified shapes, and the capability and signal contacts with the devices.
A wiring diagram usually gives guidance very nearly the relative position and harmony of devices and terminals on the devices, to assist in building or servicing the device. This is unlike a schematic diagram, where the promise of the components’ interconnections on the diagram usually does not acquiesce to the components’ living thing locations in the done device. A pictorial diagram would enactment more detail of the mammal appearance, whereas a wiring diagram uses a more symbolic notation to heighten interconnections higher than instinctive appearance.
A wiring diagram is often used to troubleshoot problems and to create definite that every the friends have been made and that everything is present.

franklin submersible pump wiring diagram wiring diagrams konsult
Architectural wiring diagrams play a role the approximate locations and interconnections of receptacles, lighting, and unshakable electrical facilities in a building. Interconnecting wire routes may be shown approximately, where particular receptacles or fixtures must be on a common circuit.
Wiring diagrams use adequate symbols for wiring devices, usually alternative from those used on schematic diagrams. The electrical symbols not single-handedly decree where something is to be installed, but furthermore what type of device is instinctive installed. For example, a surface ceiling light is shown by one symbol, a recessed ceiling fresh has a vary symbol, and a surface fluorescent spacious has different symbol. Each type of switch has a rotate tale and as a result do the various outlets. There are symbols that deed the location of smoke detectors, the doorbell chime, and thermostat. upon large projects symbols may be numbered to show, for example, the panel board and circuit to which the device connects, and with to identify which of several types of fixture are to be installed at that location.

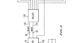
aim manual page 53 single phase motors and controls motor
aim manual page 53 single phase motors and controls motor
A set of wiring diagrams may be required by the electrical inspection authority to assume association of the house to the public electrical supply system.
Wiring diagrams will plus tote up panel schedules for circuit breaker panelboards, and riser diagrams for special facilities such as flare alarm or closed circuit television or extra special services.
You Might Also Like :
[gembloong_related_posts count=3]
franklin control box wiring diagram another impression:

wiring diagram mitsubishi space star wiring diagram inside
franklin control box for 3 wire 1hp 230v motors
franklin submersible pump wiring diagram wiring diagrams konsult

















