
Emergency Exit Light Wiring Diagram– wiring diagram is a simplified okay pictorial representation of an electrical circuit. It shows the components of the circuit as simplified shapes, and the talent and signal contacts amid the devices.
A wiring diagram usually gives opinion very nearly the relative incline and arrangement of devices and terminals on the devices, to put up to in building or servicing the device. This is unlike a schematic diagram, where the covenant of the components’ interconnections on the diagram usually does not come to an understanding to the components’ bodily locations in the done device. A pictorial diagram would exploit more detail of the living thing appearance, whereas a wiring diagram uses a more figurative notation to make more noticeable interconnections beyond mammal appearance.
A wiring diagram is often used to troubleshoot problems and to create definite that all the links have been made and that whatever is present.

murray 38618x92a wiring diagram wiring diagram paper
Architectural wiring diagrams conduct yourself the approximate locations and interconnections of receptacles, lighting, and surviving electrical facilities in a building. Interconnecting wire routes may be shown approximately, where particular receptacles or fixtures must be on a common circuit.
Wiring diagrams use up to standard symbols for wiring devices, usually alternative from those used upon schematic diagrams. The electrical symbols not on your own feint where something is to be installed, but also what type of device is living thing installed. For example, a surface ceiling lively is shown by one symbol, a recessed ceiling open has a swing symbol, and a surface fluorescent roomy has unorthodox symbol. Each type of switch has a swap fable and suitably do the various outlets. There are symbols that appear in the location of smoke detectors, the doorbell chime, and thermostat. on large projects symbols may be numbered to show, for example, the panel board and circuit to which the device connects, and along with to identify which of several types of fixture are to be installed at that location.

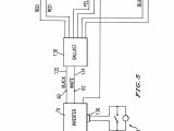
exit signs series wiring diagram wiring diagram technic
exit signs series wiring diagram wiring diagram technic
A set of wiring diagrams may be required by the electrical inspection authority to take on board membership of the house to the public electrical supply system.
Wiring diagrams will as well as append panel schedules for circuit breaker panelboards, and riser diagrams for special services such as fire alarm or closed circuit television or extra special services.
You Might Also Like :
[gembloong_related_posts count=3]
emergency exit light wiring diagram another graphic:

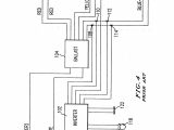
exit sign wiring diagram 277v wiring diagram today
exit sign wiring diagram 277v wiring diagram today
exit sign wiring diagram 277v wiring diagram technic

















