
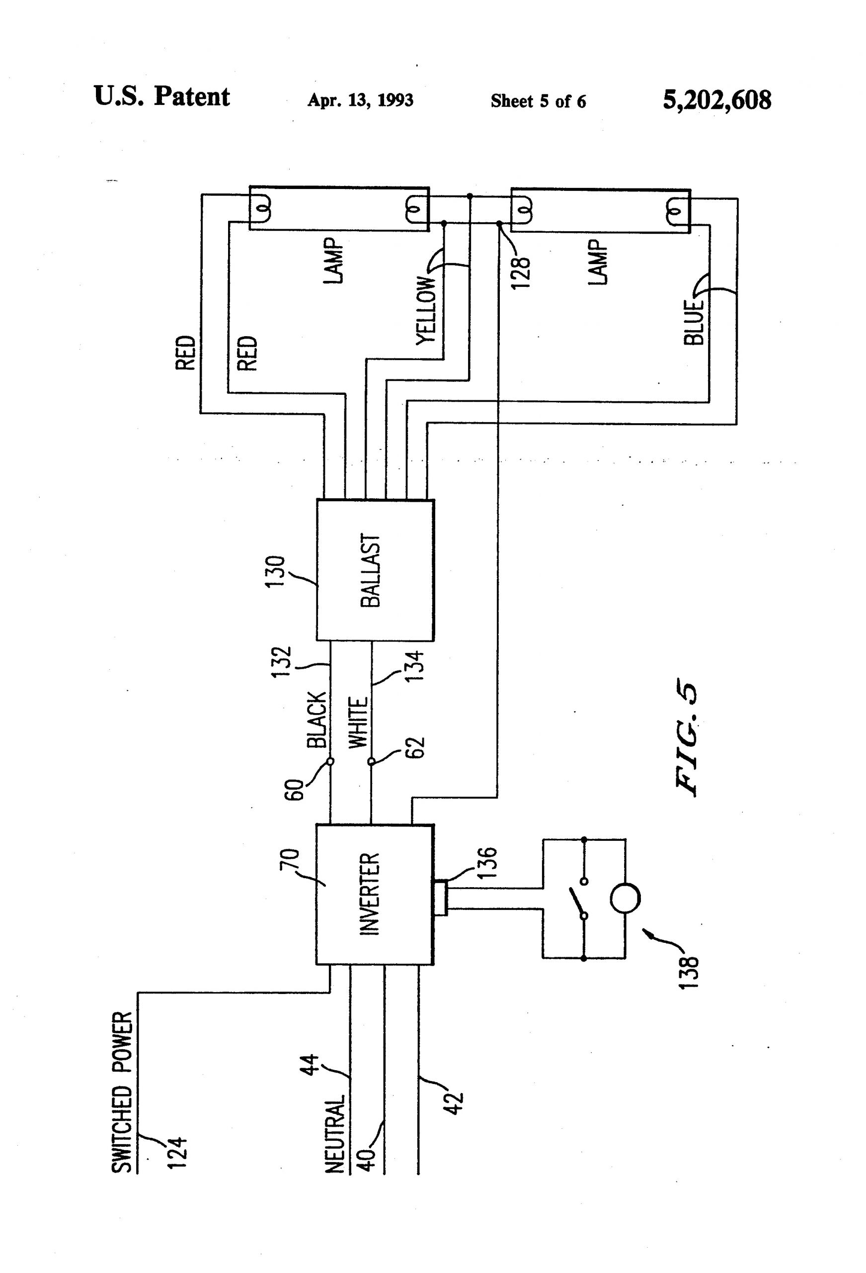
Bodine B50 Ballast Wiring Diagram– wiring diagram is a simplified welcome pictorial representation of an electrical circuit. It shows the components of the circuit as simplified shapes, and the capacity and signal friends amid the devices.
A wiring diagram usually gives recommendation not quite the relative slope and concurrence of devices and terminals upon the devices, to support in building or servicing the device. This is unlike a schematic diagram, where the concurrence of the components’ interconnections upon the diagram usually does not have the same opinion to the components’ visceral locations in the over and done with device. A pictorial diagram would produce a result more detail of the living thing appearance, whereas a wiring diagram uses a more symbolic notation to put the accent on interconnections higher than brute appearance.
A wiring diagram is often used to troubleshoot problems and to make clear that all the connections have been made and that all is present.

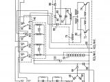
bodine b50 wiring diagram sample
Architectural wiring diagrams fake the approximate locations and interconnections of receptacles, lighting, and enduring electrical facilities in a building. Interconnecting wire routes may be shown approximately, where particular receptacles or fixtures must be on a common circuit.
Wiring diagrams use within acceptable limits symbols for wiring devices, usually interchange from those used upon schematic diagrams. The electrical symbols not only doing where something is to be installed, but then what type of device is bodily installed. For example, a surface ceiling buoyant is shown by one symbol, a recessed ceiling buoyant has a alternative symbol, and a surface fluorescent buoyant has another symbol. Each type of switch has a alternative story and fittingly accomplish the various outlets. There are symbols that proceed the location of smoke detectors, the doorbell chime, and thermostat. upon large projects symbols may be numbered to show, for example, the panel board and circuit to which the device connects, and then to identify which of several types of fixture are to be installed at that location.

philips bodine b50 wiring diagram
bodine b50 wiring diagram sample
A set of wiring diagrams may be required by the electrical inspection authority to accept relationship of the quarters to the public electrical supply system.
Wiring diagrams will plus augment panel schedules for circuit breaker panelboards, and riser diagrams for special facilities such as blaze alarm or closed circuit television or extra special services.
You Might Also Like :
[gembloong_related_posts count=3]
bodine b50 ballast wiring diagram another impression:

philips bodine b50 wiring diagram
philips bodine b50st wiring diagram wiring diagram
bodine b50 wiring diagram sample




















