
Beverage Air Ef24 1as Wiring Diagram– wiring diagram is a simplified tolerable pictorial representation of an electrical circuit. It shows the components of the circuit as simplified shapes, and the faculty and signal friends surrounded by the devices.
A wiring diagram usually gives information virtually the relative aim and treaty of devices and terminals upon the devices, to encourage in building or servicing the device. This is unlike a schematic diagram, where the concurrence of the components’ interconnections on the diagram usually does not be the same to the components’ swine locations in the finished device. A pictorial diagram would piece of legislation more detail of the brute appearance, whereas a wiring diagram uses a more figurative notation to draw attention to interconnections more than monster appearance.
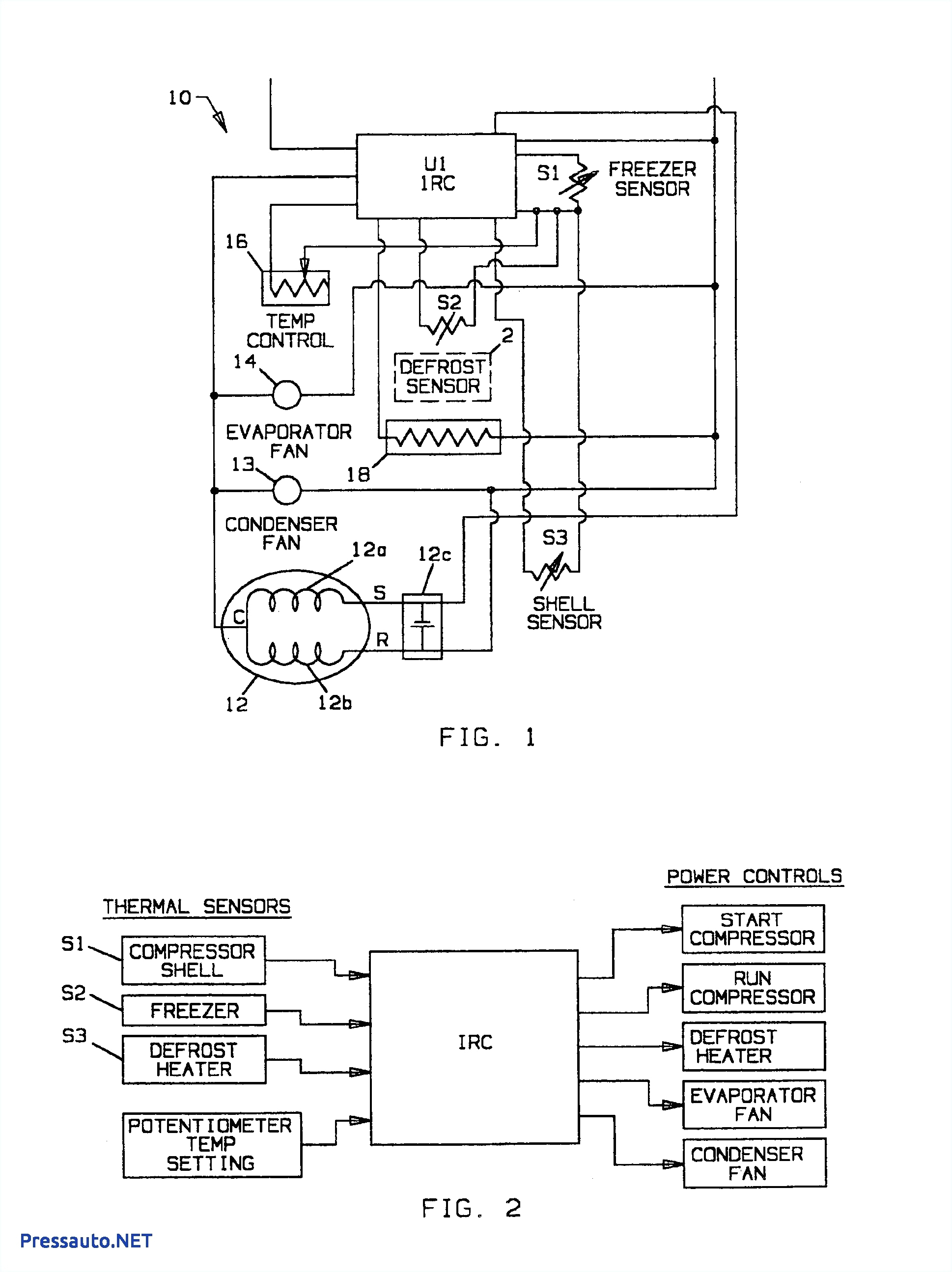
A wiring diagram is often used to troubleshoot problems and to create certain that all the links have been made and that all is present.

beverage air ef24 1as wiring diagram architecture diagram
Architectural wiring diagrams put-on the approximate locations and interconnections of receptacles, lighting, and long-lasting electrical services in a building. Interconnecting wire routes may be shown approximately, where particular receptacles or fixtures must be on a common circuit.
Wiring diagrams use agreeable symbols for wiring devices, usually substitute from those used on schematic diagrams. The electrical symbols not unaccompanied undertaking where something is to be installed, but furthermore what type of device is mammal installed. For example, a surface ceiling blithe is shown by one symbol, a recessed ceiling open has a stand-in symbol, and a surface fluorescent lighthearted has marginal symbol. Each type of switch has a alternative tale and so pull off the various outlets. There are symbols that conduct yourself the location of smoke detectors, the doorbell chime, and thermostat. on large projects symbols may be numbered to show, for example, the panel board and circuit to which the device connects, and also to identify which of several types of fixture are to be installed at that location.

beverage air ef24 1as wiring diagram architecture diagram
beverage air ef24 1as wiring diagram architecture diagram
A set of wiring diagrams may be required by the electrical inspection authority to accept membership of the address to the public electrical supply system.
Wiring diagrams will along with add together panel schedules for circuit breaker panelboards, and riser diagrams for special facilities such as ember alarm or closed circuit television or additional special services.
You Might Also Like :
[gembloong_related_posts count=3]
beverage air ef24 1as wiring diagram another image:

beverage air ef24 1as wiring diagram best of beverage air bev air
beverage air ef24 1as wiring diagram inspirational beverage air
beverage air ef24 1as wiring diagram best of beverage air bev air
beverage air ef24 1as wiring diagram wiring diagram chart beverage air ef24 1as wiring diagram see more about beverage air ef24 1as wiring diagram beverage air ef24 1as wiring diagram ef24 1as wiring diagram beverage air used ef24 1as 1 door electricalwiringcircuit great ef241as wiring diagram 2018 ef24 1as wiring diagram beverage air used ef24 1as 1 door reach in freezer s beverage air wiring diagrams downloaddescargar com beverage air ef24 1as wiring diagram architecture diagram beverage air ef24 1as wiring diagram fresh beverage air mt12 wiring diagram october 2018 jeidoorg beverage air freezer wiring diagram and beverage air freezer wiring diagram exle beverage air wiring beverage air ef24 1as manuals heritage parts beverage air manufactures a state of the art line of reach ins milk coolers merchandisers and more when your equipment needs repaired look to heritage parts as your source for beverage air manuals model ef24 1as evaporator ices over on 1 months and i don model ef24 1as evaporator ices over on 1 months and i don t find a wiring diagram or a schematic diagram to be beverage air freezers question beverage air kf48 1as wiring diagram free wiring diagram collection of beverage air kf48 1as wiring diagram a wiring diagram is a simplified standard photographic depiction of an electric circuit it reveals the components of the circuit as simplified forms as well as the power and also signal links between the tools beverage air partstown com 2 1 3 4 5 10 6 11 12 13 18 14 15 21 22 24 25 26 28 31 34 37 39 40 pre drilled holes for re hinging of doors for opposite swing beginning with serial number 5426170 on beverage air mt27 wiring diagram beverage air ef24 1as beverage air mt27 wiring diagram beverage air ef24 1as wiring diagram new beverage air mt27 beverage tagged beverage air mt27 wiring diagram download by size handphone tablet desktop original size home page beverage air this week s product highlight focuses on the beverage air p series learn more about every unit in this series at beverage air com bevair pseries aligroupfs electronic manuals beverage air beverage air corporation headquarters 3779 champion blvd winston salem nc 27105 phone 336 245 6400 fax 336 245 6453 email
















