Water Pump Control Box Wiring Diagram


Warning: count(): Parameter must be an array or an object that implements Countable in /var/www/html/autocardesign.org/wp-content/themes/silegan-wordpress-theme/inc/themeson.class.php on line 625
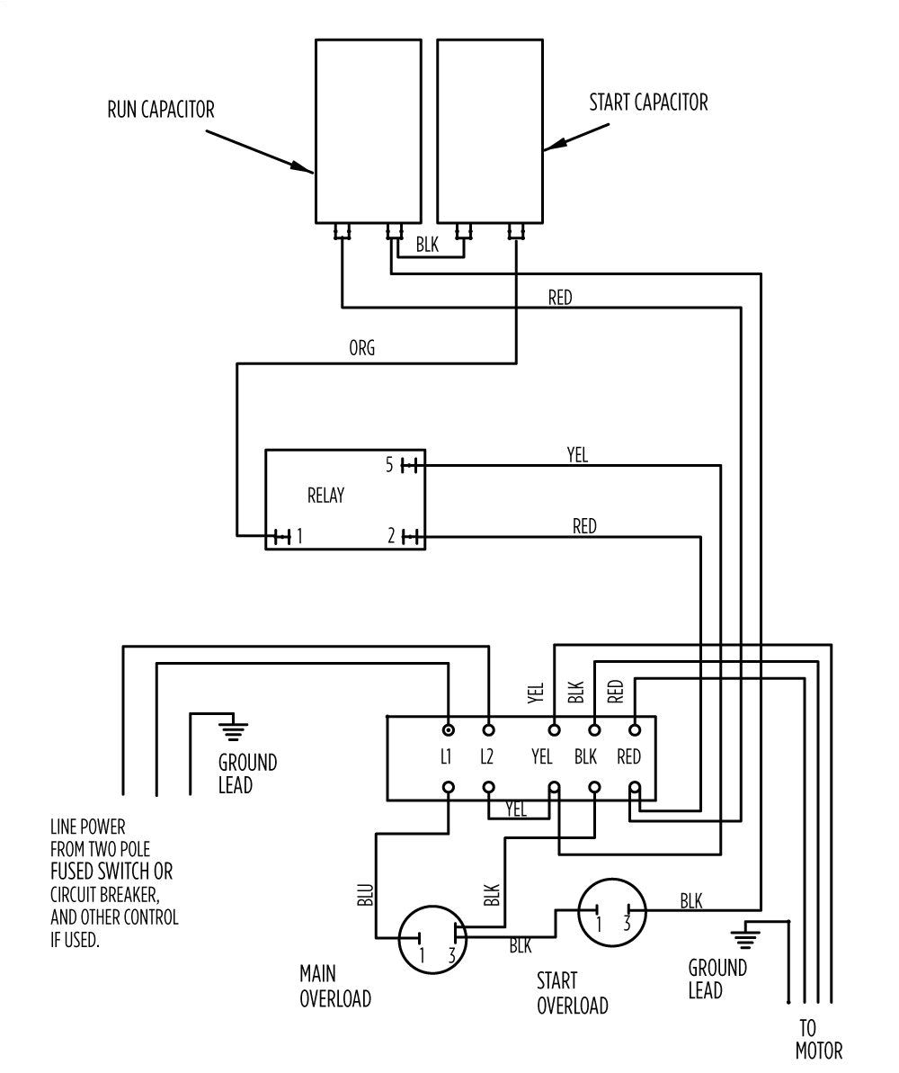
Water Pump Control Box Wiring Diagram Wiring Diagram for 220 Volt Submersible Pump with Images
Water Pump Control Box Wiring Diagram Wiring Diagram for 220 Volt Submersible Pump with Images