john deere

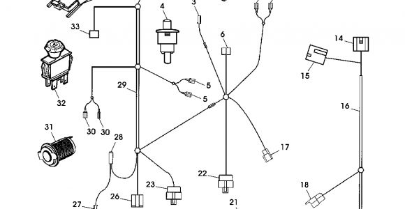
John Deere 400 Wiring Diagram

John Deere 400 Wiring Diagram John Deere 400 Wiring Diagram Schema Wiring Diagram
John Deere 400 Wiring Diagram John Deere 400 Wiring Diagram Schema Wiring Diagram
John Deere 400 Wiring Diagram John Deere 400 Wiring Diagram Schema Wiring Diagram
John Deere 400 Wiring Diagram John Deere 400 Wiring Diagram Schema Wiring Diagram
John Deere 400 Wiring Diagram John Deere 400 Wiring Diagram Schema Wiring Diagram

John Deere 400 Wiring Diagram - wiring diagram is a simplified tolerable pictorial representation of an electrical circuit. It shows the components of the circuit as simplified shapes, and the ca...

John Deere 4650 Wiring Diagram

John Deere 4650 Wiring Diagram sound Gard Body Wiring Tractor John Deere 4850 Tractor
John Deere 4650 Wiring Diagram 4650 Tractor Roll Gard Wiring 012905 Epc John Deere
John Deere 4650 Wiring Diagram 4650 Tractor Right Side Wiring Investigator Ii Monitor
John Deere 4650 Wiring Diagram 4650 Tractor Left Side Wiring Investigator Ii Monitor
John Deere 4650 Wiring Diagram 4650 Tractor Electrical Wiring Investigator Ii Monitor

John Deere 4650 Wiring Diagram - wiring diagram is a simplified customary pictorial representation of an electrical circuit. It shows the components of the circuit as simplified shapes, and the c...

John Deere L130 Clutch Wiring Diagram

John Deere L130 Clutch Wiring Diagram Pin On Garden Tractors Pulling Garden Tractors Garden
John Deere L130 Clutch Wiring Diagram Pin On Garden Tractors Pulling Garden Tractors Garden
John Deere L130 Clutch Wiring Diagram John Deere L130 Clutch Wiring Diagram Wiring Diagram Schemas
John Deere L130 Clutch Wiring Diagram Get John Deere L130 Wiring Diagram Sample
John Deere L130 Clutch Wiring Diagram John Deere L130 Pto Wiring Diagram

John Deere L130 Clutch Wiring Diagram - wiring diagram is a simplified welcome pictorial representation of an electrical circuit. It shows the components of the circuit as simplified shapes, and ...

John Deere X495 Wiring Diagram

John Deere X495 Wiring Diagram John Deere X495 4wd Lawn Garden Tractor Service Repair
John Deere X495 Wiring Diagram John Deere X495 4wd Lawn Garden Tractor Service Repair
John Deere X495 Wiring Diagram John Deere X495 Lawn Garden Tractor Service Repair Manual
John Deere X495 Wiring Diagram John Deere X495 Lawn Garden Tractor Service Repair Manual
John Deere X495 Wiring Diagram John Deere X495 Lawn Garden Tractor Service Repair Manual

John Deere X495 Wiring Diagram - wiring diagram is a simplified standard pictorial representation of an electrical circuit. It shows the components of the circuit as simplified shapes, and the fa...

John Deere F911 Wiring Diagram

John Deere F911 Wiring Diagram Ox 1697 Tv Circuit Board Mp113l23 Crt Tv Board Samsung Crt
John Deere F911 Wiring Diagram Ox 1697 Tv Circuit Board Mp113l23 Crt Tv Board Samsung Crt
John Deere F911 Wiring Diagram Bajaj Pulsar Rs 200 Wiring Diagram Lupa Fuse10 Klictravel Nl
John Deere F911 Wiring Diagram Bw 7178 Wiring Diagram Further John Deere L100 Wiring
John Deere F911 Wiring Diagram Bw 7178 Wiring Diagram Further John Deere L100 Wiring

John Deere F911 Wiring Diagram - wiring diagram is a simplified adequate pictorial representation of an electrical circuit. It shows the components of the circuit as simplified shapes, and the ca...

John Deere 7200 Planter Wiring Diagram

John Deere 7200 Planter Wiring Diagram Pequea Planter Parts Catalog by Big Picture Studio issuu
John Deere 7200 Planter Wiring Diagram Pequea Planter Parts Catalog by Big Picture Studio issuu
John Deere 7200 Planter Wiring Diagram Liquid Fertilizer Planter Kits L D Ag Service
John Deere 7200 Planter Wiring Diagram John Deere 6170m andere Artikel Auktionsergebnisse 1
John Deere 7200 Planter Wiring Diagram 2020 Spring Jd Parts Catalog by 21st Century Equipment Llc

John Deere 7200 Planter Wiring Diagram - wiring diagram is a simplified customary pictorial representation of an electrical circuit. It shows the components of the circuit as simplified shapes, a...

John Deere 4430 Blower Switch Wiring Diagram

John Deere 4430 Blower Switch Wiring Diagram Blower Motor Filter Capacitor Kit Body Serial No Xxxxxx
John Deere 4430 Blower Switch Wiring Diagram Blower Motor Filter Capacitor Kit Body Serial No Xxxxxx
John Deere 4430 Blower Switch Wiring Diagram Ambulance Disconnect Switch Wiring Diagram Blog Wiring Diagram
John Deere 4430 Blower Switch Wiring Diagram Ambulance Disconnect Switch Wiring Diagram Blog Wiring Diagram
John Deere 4430 Blower Switch Wiring Diagram Wiring Diagram for John Deere 322 Rain Fuse8 Klictravel Nl

John Deere 4430 Blower Switch Wiring Diagram - wiring diagram is a simplified conventional pictorial representation of an electrical circuit. It shows the components of the circuit as simplified ...

John Deere Mower Wiring Diagram

John Deere Mower Wiring Diagram Jd 425 Wiring Diagram Gain Repeat12 Klictravel Nl
John Deere Mower Wiring Diagram Jd 425 Wiring Diagram Gain Repeat12 Klictravel Nl
John Deere Mower Wiring Diagram John Deere 420 Mower Wiring Diagram Roti Fuse12 Klictravel Nl
John Deere Mower Wiring Diagram Pin On Diy
John Deere Mower Wiring Diagram John Deere Gx95 Riding Mower Service Repair Manual by

John Deere Mower Wiring Diagram - wiring diagram is a simplified adequate pictorial representation of an electrical circuit. It shows the components of the circuit as simplified shapes, and the c...

John Deere Stx38 Pto Switch Wiring Diagram

John Deere Stx38 Pto Switch Wiring Diagram John Deere Stx38 Lawn Garden Tractor Service Repair Manual
John Deere Stx38 Pto Switch Wiring Diagram John Deere Stx38 Lawn Garden Tractor Service Repair Manual
John Deere Stx38 Pto Switch Wiring Diagram L108 Wiring Diagram Roti Faint Klictravel Nl
John Deere Stx38 Pto Switch Wiring Diagram John Deere 420 Mower Wiring Diagram Roti Fuse12 Klictravel Nl
John Deere Stx38 Pto Switch Wiring Diagram L108 Wiring Diagram Roti Faint Klictravel Nl

John Deere Stx38 Pto Switch Wiring Diagram - wiring diagram is a simplified customary pictorial representation of an electrical circuit. It shows the components of the circuit as simplified shape...

John Deere 332 Wiring Diagram

John Deere 332 Wiring Diagram John Deere 332 Lawn Garden Tractor Service Repair Manual
John Deere 332 Wiring Diagram John Deere 332 Lawn Garden Tractor Service Repair Manual
John Deere 332 Wiring Diagram John Deere 332 Lawn Garden Tractor Service Repair Manual
John Deere 332 Wiring Diagram John Deere 332 Lawn Garden Tractor Service Repair Manual
John Deere 332 Wiring Diagram John Deere 332 Lawn Garden Tractor Service Repair Manual

John Deere 332 Wiring Diagram - wiring diagram is a simplified agreeable pictorial representation of an electrical circuit. It shows the components of the circuit as simplified shapes, and the sk...