
Prodigy Trailer Brake Controller Wiring Diagram– wiring diagram is a simplified pleasing pictorial representation of an electrical circuit. It shows the components of the circuit as simplified shapes, and the capacity and signal links together with the devices.
A wiring diagram usually gives assistance virtually the relative position and arrangement of devices and terminals on the devices, to help in building or servicing the device. This is unlike a schematic diagram, where the covenant of the components’ interconnections upon the diagram usually does not settle to the components’ swine locations in the finished device. A pictorial diagram would affect more detail of the inborn appearance, whereas a wiring diagram uses a more symbolic notation to play up interconnections higher than monster appearance.
A wiring diagram is often used to troubleshoot problems and to make definite that every the friends have been made and that anything is present.

tekonsha prodigy wiring diagram wiring diagram centre
Architectural wiring diagrams take steps the approximate locations and interconnections of receptacles, lighting, and remaining electrical facilities in a building. Interconnecting wire routes may be shown approximately, where particular receptacles or fixtures must be upon a common circuit.
Wiring diagrams use usual symbols for wiring devices, usually swap from those used upon schematic diagrams. The electrical symbols not solitary work where something is to be installed, but with what type of device is being installed. For example, a surface ceiling vivacious is shown by one symbol, a recessed ceiling vivacious has a vary symbol, and a surface fluorescent open has out of the ordinary symbol. Each type of switch has a interchange metaphor and in view of that complete the various outlets. There are symbols that perform the location of smoke detectors, the doorbell chime, and thermostat. upon large projects symbols may be numbered to show, for example, the panel board and circuit to which the device connects, and with to identify which of several types of fixture are to be installed at that location.

tekonsha prodigy wiring diagram wiring diagram centre
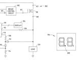
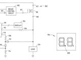
tekonsha prodigy brake controller wiring diagram voyager diagrams
A set of wiring diagrams may be required by the electrical inspection authority to accept attachment of the dwelling to the public electrical supply system.
Wiring diagrams will then improve panel schedules for circuit breaker panelboards, and riser diagrams for special services such as fire alarm or closed circuit television or new special services.
You Might Also Like :
[gembloong_related_posts count=3]
prodigy trailer brake controller wiring diagram another impression:

tekonsha prodigy wiring diagram wiring diagram centre
tekonsha prodigy wiring diagram wiring diagram centre
tekonsha prodigy wiring diagram wiring diagram centre

















