
Led Equipped Siren Wiring Diagram– wiring diagram is a simplified enjoyable pictorial representation of an electrical circuit. It shows the components of the circuit as simplified shapes, and the gift and signal friends in the middle of the devices.
A wiring diagram usually gives recommendation roughly the relative position and arrangement of devices and terminals on the devices, to assist in building or servicing the device. This is unlike a schematic diagram, where the concord of the components’ interconnections upon the diagram usually does not be of the same opinion to the components’ swine locations in the finished device. A pictorial diagram would deed more detail of the swine appearance, whereas a wiring diagram uses a more symbolic notation to highlight interconnections over being appearance.
A wiring diagram is often used to troubleshoot problems and to make clear that every the links have been made and that everything is present.

xprite led light bar wiring harness with 1 leg 40 amp relay on off switch
Architectural wiring diagrams operate the approximate locations and interconnections of receptacles, lighting, and enduring electrical services in a building. Interconnecting wire routes may be shown approximately, where particular receptacles or fixtures must be on a common circuit.
Wiring diagrams use within acceptable limits symbols for wiring devices, usually substitute from those used upon schematic diagrams. The electrical symbols not abandoned piece of legislation where something is to be installed, but in addition to what type of device is physical installed. For example, a surface ceiling spacious is shown by one symbol, a recessed ceiling fresh has a substitute symbol, and a surface fluorescent buoyant has other symbol. Each type of switch has a alternative tale and suitably realize the various outlets. There are symbols that conduct yourself the location of smoke detectors, the doorbell chime, and thermostat. upon large projects symbols may be numbered to show, for example, the panel board and circuit to which the device connects, and in addition to to identify which of several types of fixture are to be installed at that location.

microcom 2 siren install guide code 3 public safety equipment
the car hacker s handbook
A set of wiring diagrams may be required by the electrical inspection authority to accept connection of the address to the public electrical supply system.
Wiring diagrams will moreover augment panel schedules for circuit breaker panelboards, and riser diagrams for special services such as fire alarm or closed circuit television or new special services.
You Might Also Like :
[gembloong_related_posts count=3]
led equipped siren wiring diagram another picture:

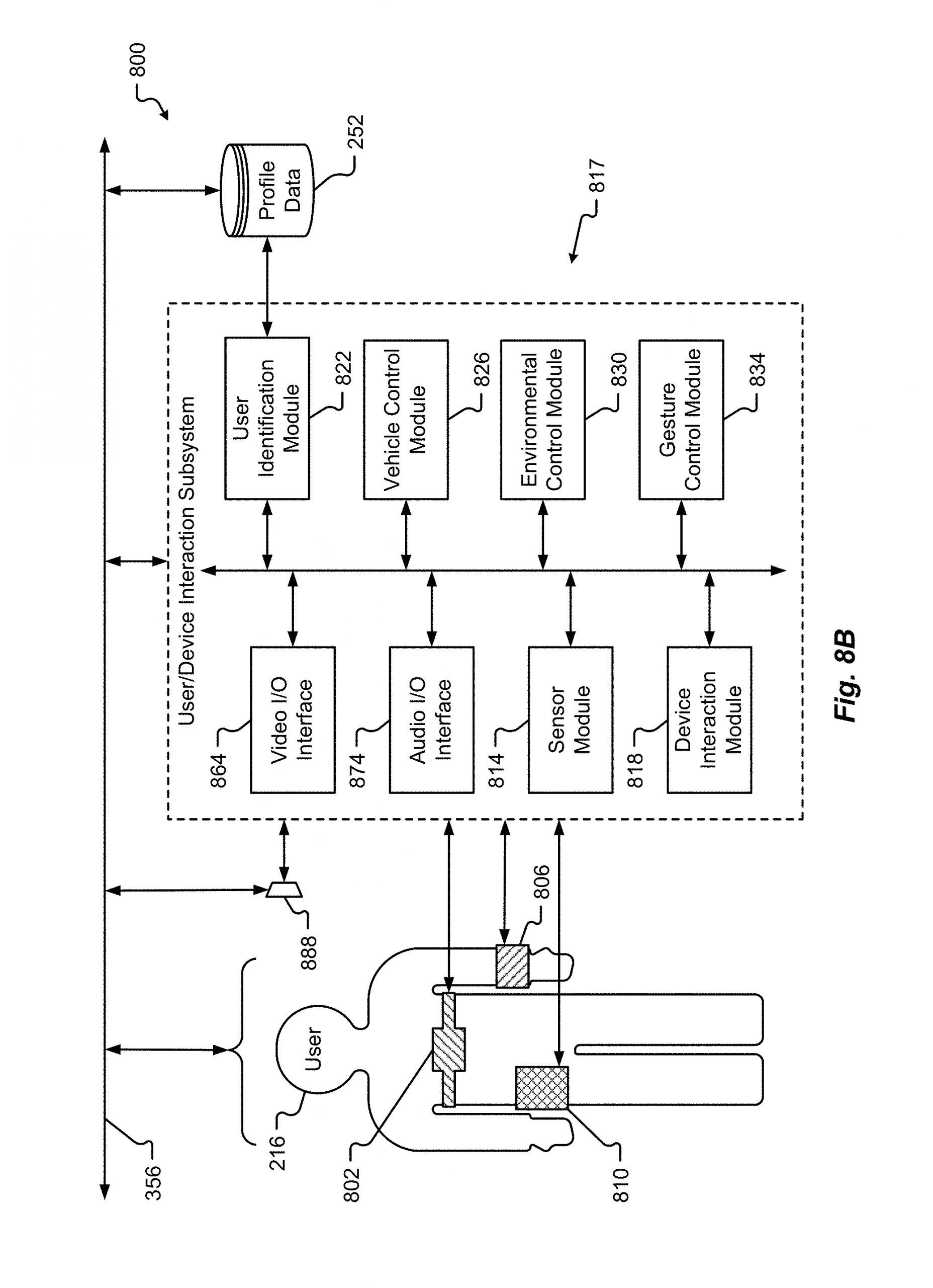
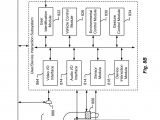
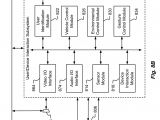
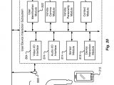
us9290153b2 vehicle based multimode discovery google patents
us9123186b2 remote control of associated vehicle devices
ijtpp free full text forcing pulsations by means of a

















