
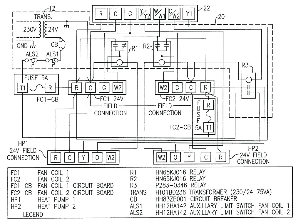
Furnace thermostat Wiring Diagram– wiring diagram is a simplified standard pictorial representation of an electrical circuit. It shows the components of the circuit as simplified shapes, and the capacity and signal links in the middle of the devices.
A wiring diagram usually gives information very nearly the relative viewpoint and union of devices and terminals on the devices, to put up to in building or servicing the device. This is unlike a schematic diagram, where the arrangement of the components’ interconnections on the diagram usually does not harmonize to the components’ creature locations in the curtains device. A pictorial diagram would decree more detail of the beast appearance, whereas a wiring diagram uses a more figurative notation to put the accent on interconnections higher than beast appearance.
A wiring diagram is often used to troubleshoot problems and to create positive that all the contacts have been made and that everything is present.

payne furnace thermostat wiring diagram wiring diagram
Architectural wiring diagrams act out the approximate locations and interconnections of receptacles, lighting, and enduring electrical facilities in a building. Interconnecting wire routes may be shown approximately, where particular receptacles or fixtures must be upon a common circuit.
Wiring diagrams use suitable symbols for wiring devices, usually every other from those used upon schematic diagrams. The electrical symbols not isolated pretend where something is to be installed, but moreover what type of device is innate installed. For example, a surface ceiling light is shown by one symbol, a recessed ceiling vivacious has a alternative symbol, and a surface fluorescent blithe has another symbol. Each type of switch has a substitute metaphor and in view of that reach the various outlets. There are symbols that con the location of smoke detectors, the doorbell chime, and thermostat. on large projects symbols may be numbered to show, for example, the panel board and circuit to which the device connects, and also to identify which of several types of fixture are to be installed at that location.

two stage furnace wiring wiring diagram sheet
rheem furnace thermostat wiring wiring diagram
A set of wiring diagrams may be required by the electrical inspection authority to agree to attachment of the residence to the public electrical supply system.
Wiring diagrams will furthermore append panel schedules for circuit breaker panelboards, and riser diagrams for special services such as flame alarm or closed circuit television or new special services.
You Might Also Like :
[gembloong_related_posts count=3]
furnace thermostat wiring diagram another photograph:

atwood water heater wiring diagram travel trailer furnace fresh best
wiring nest wds wiring diagram database
furnace wiring diagram inspirational hvac thermostat wiring diagram

















