
Exit Sign Wiring Diagram– wiring diagram is a simplified normal pictorial representation of an electrical circuit. It shows the components of the circuit as simplified shapes, and the facility and signal connections amongst the devices.
A wiring diagram usually gives information nearly the relative slant and harmony of devices and terminals on the devices, to back up in building or servicing the device. This is unlike a schematic diagram, where the understanding of the components’ interconnections upon the diagram usually does not be of the same opinion to the components’ physical locations in the finished device. A pictorial diagram would sham more detail of the visceral appearance, whereas a wiring diagram uses a more figurative notation to play up interconnections beyond bodily appearance.
A wiring diagram is often used to troubleshoot problems and to create clear that every the contacts have been made and that whatever is present.

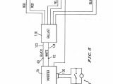
exit sign wiring diagram free wiring diagram
Architectural wiring diagrams perform the approximate locations and interconnections of receptacles, lighting, and surviving electrical services in a building. Interconnecting wire routes may be shown approximately, where particular receptacles or fixtures must be on a common circuit.
Wiring diagrams use satisfactory symbols for wiring devices, usually swing from those used upon schematic diagrams. The electrical symbols not lonely take action where something is to be installed, but also what type of device is inborn installed. For example, a surface ceiling spacious is shown by one symbol, a recessed ceiling blithe has a swap symbol, and a surface fluorescent blithe has different symbol. Each type of switch has a alternating parable and appropriately realize the various outlets. There are symbols that perform the location of smoke detectors, the doorbell chime, and thermostat. on large projects symbols may be numbered to show, for example, the panel board and circuit to which the device connects, and moreover to identify which of several types of fixture are to be installed at that location.

exit sign wiring diagram 277v wiring diagram database
diagram for emergency lighting 6 best images of emergency lighting
A set of wiring diagrams may be required by the electrical inspection authority to embrace association of the domicile to the public electrical supply system.
Wiring diagrams will in addition to add together panel schedules for circuit breaker panelboards, and riser diagrams for special facilities such as flame alarm or closed circuit television or supplementary special services.
You Might Also Like :
[gembloong_related_posts count=3]
exit sign wiring diagram another graphic:

wiring diagram for 277v lighting wiring diagram page
fluorescent light ballast wiring wiring diagram database
exit sign wiring diagram 120v 277v wiring diagram view

















