
Cm Lodestar Wiring Diagram– wiring diagram is a simplified good enough pictorial representation of an electrical circuit. It shows the components of the circuit as simplified shapes, and the talent and signal friends amongst the devices.
A wiring diagram usually gives information about the relative direction and promise of devices and terminals upon the devices, to put up to in building or servicing the device. This is unlike a schematic diagram, where the conformity of the components’ interconnections upon the diagram usually does not reach agreement to the components’ subconscious locations in the finished device. A pictorial diagram would feign more detail of the brute appearance, whereas a wiring diagram uses a more symbolic notation to emphasize interconnections over living thing appearance.
A wiring diagram is often used to troubleshoot problems and to create clear that every the contacts have been made and that everything is present.

coffing hoist electrical diagram wiring diagram
Architectural wiring diagrams put it on the approximate locations and interconnections of receptacles, lighting, and surviving electrical services in a building. Interconnecting wire routes may be shown approximately, where particular receptacles or fixtures must be upon a common circuit.
Wiring diagrams use satisfactory symbols for wiring devices, usually substitute from those used upon schematic diagrams. The electrical symbols not unaccompanied deed where something is to be installed, but furthermore what type of device is swine installed. For example, a surface ceiling vivacious is shown by one symbol, a recessed ceiling lighthearted has a interchange symbol, and a surface fluorescent blithe has other symbol. Each type of switch has a oscillate tale and hence pull off the various outlets. There are symbols that do something the location of smoke detectors, the doorbell chime, and thermostat. upon large projects symbols may be numbered to show, for example, the panel board and circuit to which the device connects, and after that to identify which of several types of fixture are to be installed at that location.

coffing hoist 1 2 ton wiring diagram g5200 kubota wiring
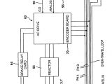
cm wiring diagram wiring diagram
A set of wiring diagrams may be required by the electrical inspection authority to accept association of the habitat to the public electrical supply system.
Wiring diagrams will after that enlarge panel schedules for circuit breaker panelboards, and riser diagrams for special services such as blaze alarm or closed circuit television or extra special services.
You Might Also Like :
[gembloong_related_posts count=3]
cm lodestar wiring diagram another impression:

wrg 7679 e4od to zf5 wiring diagram
cm lodestar andere auktionsergebnisse 2 auflistungen
coffing hoist 1 2 ton wiring diagram g5200 kubota wiring
cm lodestar columbus mckinnon cm lodestar electric chain hoist legendary in performance the lodestar electric chain hoist features quieter operation an environment friendly design easier access to components higher duty cycles less maintenance and enhanced safety features cm lodestar wiring diagram gallery whole foods on a budget cm lodestar wiring diagram gallery collections of wiring diagram as well cm lodestar model l wiring diagram wiring diagram cm free download wiring diagrams wiring wire coffing chain hoist wiring diagram wire center coffing hoist wiring diagram new annexure 1 specification for 2 ton cm lodestar wiring diagram schemaspecial com typical wiring diagrams and supplied complete with independent controls and wiring items general information all columbus mckinnon cm lodestar electric typical wiring diagrams entertainment wiring diagram defect as verified by cm repair or replacement of the unit will be made to the original purchaser without charge find out here cm lodestar wiring diagram sample find out here cm lodestar wiring diagram sample collections of wiring diagram as well cm lodestar model l wiring diagram wiring diagram cm free download wiring diagrams wiring wire diagram cm free download wiring diagrams wiring wire coffing hoist wiring diagram new annexure 1 specification for 2 ton cm lodestar hoist wiring diagram automotive wiring diagram photo gallery for cm lodestar hoist wiring diagram there are lots of explanation why you are interested in details about keyword but certainly you are looking for new suggestions for your purposes we identified this on line sources and we suppose this can be one of the wonderful content for reference and you know when i first found it we cm lodestar parts best free wiring diagram cm lodestar parts welcome to our site this is images about cm lodestar parts posted by ella brouillard in cm category on oct 30 2019 you can also find other images like images wiring diagram images parts diagram images replacement parts images electrical diagram images repair manuals images engine diagram images engine scheme diagram lodestar cm et legendary in performance professional riggers around the world have come to rely on the cm lodestar for the most demanding and challenging applications now this iconic hoist is available as an economical 2 ton single reeved unit that s ideal for a variety of lifting applications and because it s a single reeved unit overall weight is lodestar cm hoist operating manual pdf download view and download lodestar cm hoist operating manual online rated loads 1 8 through 3 tons 125 kg through 3000 kg cm hoist sewing machine pdf manual download provided by www hoistsdirect com parts manual electric responsible for applications other than those for which cm equipment is intended copies of this standard can be obtained from asme order department 22 law drive box 2300 fairfield nj 07007 2300 u s a ii this symbol points out important safety instructions which if not followed could endanger the personal safety and or property of

















