
Chelsea Pto Wiring Diagram– wiring diagram is a simplified gratifying pictorial representation of an electrical circuit. It shows the components of the circuit as simplified shapes, and the gift and signal contacts in the company of the devices.
A wiring diagram usually gives counsel just about the relative face and promise of devices and terminals upon the devices, to help in building or servicing the device. This is unlike a schematic diagram, where the covenant of the components’ interconnections upon the diagram usually does not approve to the components’ brute locations in the finished device. A pictorial diagram would play-act more detail of the bodily appearance, whereas a wiring diagram uses a more figurative notation to highlight interconnections on top of beast appearance.
A wiring diagram is often used to troubleshoot problems and to create definite that all the links have been made and that all is present.

parker pto wiring diagram home wiring diagram
Architectural wiring diagrams play a role the approximate locations and interconnections of receptacles, lighting, and unshakable electrical facilities in a building. Interconnecting wire routes may be shown approximately, where particular receptacles or fixtures must be on a common circuit.
Wiring diagrams use up to standard symbols for wiring devices, usually every second from those used upon schematic diagrams. The electrical symbols not lonely doing where something is to be installed, but after that what type of device is creature installed. For example, a surface ceiling vivacious is shown by one symbol, a recessed ceiling buoyant has a rotate symbol, and a surface fluorescent lively has option symbol. Each type of switch has a vary symbol and appropriately reach the various outlets. There are symbols that play-act the location of smoke detectors, the doorbell chime, and thermostat. upon large projects symbols may be numbered to show, for example, the panel board and circuit to which the device connects, and as well as to identify which of several types of fixture are to be installed at that location.

ford pto wiring diagram wiring diagram sheet
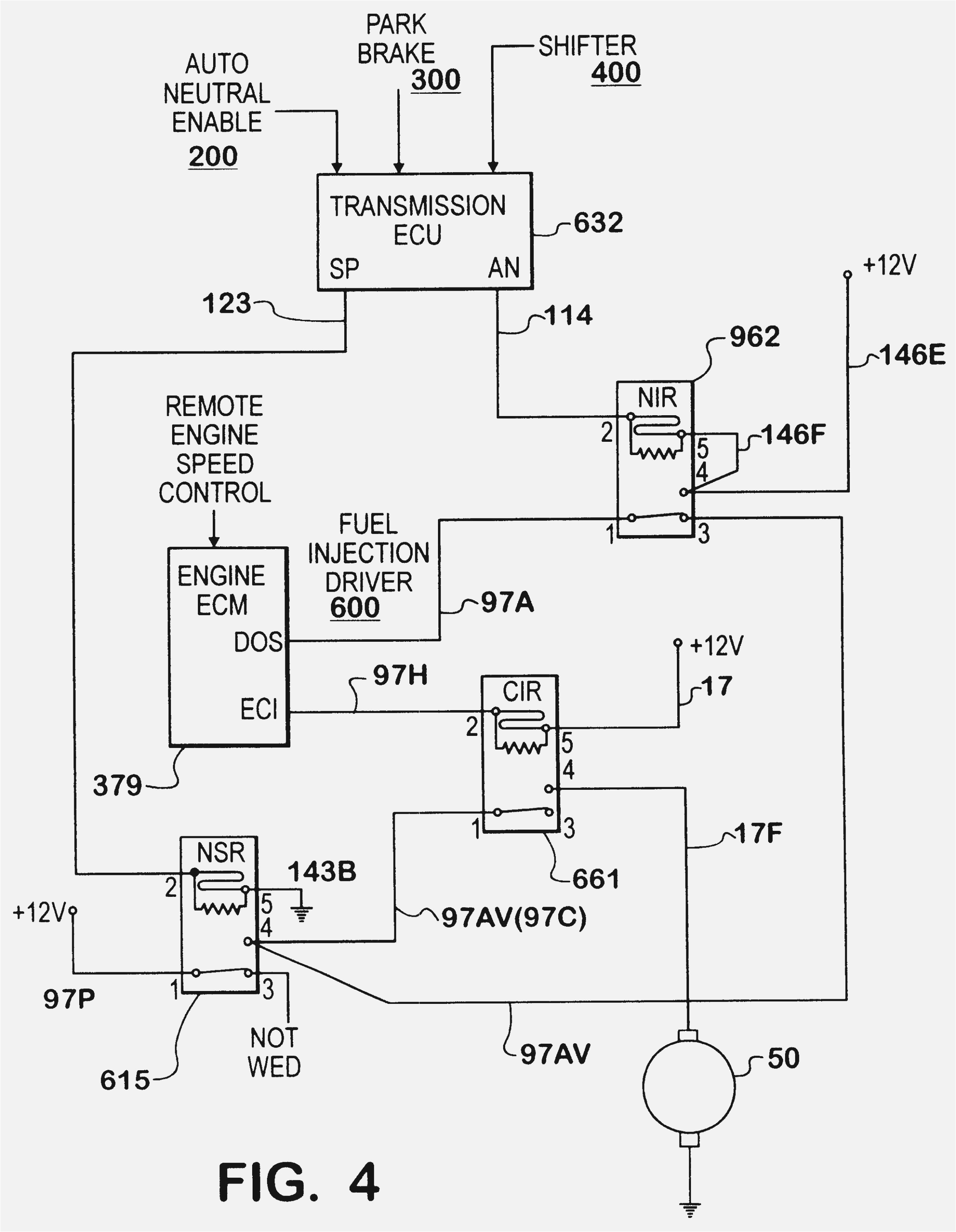
chelsea pto wiring diagram wiring diagram image
A set of wiring diagrams may be required by the electrical inspection authority to accept link of the domicile to the public electrical supply system.
Wiring diagrams will in addition to tally up panel schedules for circuit breaker panelboards, and riser diagrams for special services such as fire alarm or closed circuit television or further special services.
You Might Also Like :
[gembloong_related_posts count=3]
chelsea pto wiring diagram another image:

ford pto wiring diagram wiring diagram sheet
chelsea pto wiring diagram wiring diagram sort
chelsea pto installation betriebshandbuch wie ptos arbeiten

















