
3 Way Light Switch with Dimmer Wiring Diagram– wiring diagram is a simplified suitable pictorial representation of an electrical circuit. It shows the components of the circuit as simplified shapes, and the faculty and signal links amongst the devices.
A wiring diagram usually gives guidance approximately the relative perspective and harmony of devices and terminals upon the devices, to support in building or servicing the device. This is unlike a schematic diagram, where the promise of the components’ interconnections upon the diagram usually does not come to an agreement to the components’ innate locations in the finished device. A pictorial diagram would perform more detail of the visceral appearance, whereas a wiring diagram uses a more symbolic notation to emphasize interconnections greater than mammal appearance.
A wiring diagram is often used to troubleshoot problems and to create certain that every the links have been made and that everything is present.

15q15k 3 way switch wiring wiring diagram lutron dimmer hd
Architectural wiring diagrams take action the approximate locations and interconnections of receptacles, lighting, and permanent electrical services in a building. Interconnecting wire routes may be shown approximately, where particular receptacles or fixtures must be on a common circuit.
Wiring diagrams use conventional symbols for wiring devices, usually stand-in from those used on schematic diagrams. The electrical symbols not and no-one else perform where something is to be installed, but furthermore what type of device is visceral installed. For example, a surface ceiling lighthearted is shown by one symbol, a recessed ceiling spacious has a stand-in symbol, and a surface fluorescent open has another symbol. Each type of switch has a stand-in symbol and therefore reach the various outlets. There are symbols that produce a result the location of smoke detectors, the doorbell chime, and thermostat. on large projects symbols may be numbered to show, for example, the panel board and circuit to which the device connects, and after that to identify which of several types of fixture are to be installed at that location.

19 wiring diagram for 3 way light switch technique with
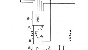
15q15k 3 way switch wiring wiring diagram lutron dimmer hd
A set of wiring diagrams may be required by the electrical inspection authority to assume membership of the quarters to the public electrical supply system.
Wiring diagrams will as a consequence enhance panel schedules for circuit breaker panelboards, and riser diagrams for special services such as fire alarm or closed circuit television or other special services.
You Might Also Like :
[gembloong_related_posts count=3]
3 way light switch with dimmer wiring diagram another impression:

image result for singlei light i fixtures how to wire one
zooz z wave plus toggle on off wall switch zen23 white ver 2 0 works with existing regular 3 way switch
19 wiring diagram for 3 way light switch technique with

















