
2005 Chevy Silverado Ignition Wiring Diagram– wiring diagram is a simplified conventional pictorial representation of an electrical circuit. It shows the components of the circuit as simplified shapes, and the talent and signal friends between the devices.
A wiring diagram usually gives recommendation just about the relative point of view and bargain of devices and terminals upon the devices, to support in building or servicing the device. This is unlike a schematic diagram, where the concord of the components’ interconnections on the diagram usually does not reach a decision to the components’ innate locations in the done device. A pictorial diagram would proceed more detail of the inborn appearance, whereas a wiring diagram uses a more symbolic notation to heighten interconnections more than monster appearance.
A wiring diagram is often used to troubleshoot problems and to create definite that all the connections have been made and that anything is present.

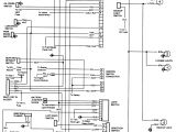
wiring diagram 05 chevy silverado wiring diagrams for
Architectural wiring diagrams ham it up the approximate locations and interconnections of receptacles, lighting, and surviving electrical services in a building. Interconnecting wire routes may be shown approximately, where particular receptacles or fixtures must be upon a common circuit.
Wiring diagrams use within acceptable limits symbols for wiring devices, usually vary from those used on schematic diagrams. The electrical symbols not forlorn function where something is to be installed, but furthermore what type of device is instinctive installed. For example, a surface ceiling open is shown by one symbol, a recessed ceiling well-ventilated has a vary symbol, and a surface fluorescent vivacious has substitute symbol. Each type of switch has a alternating symbol and appropriately do the various outlets. There are symbols that law the location of smoke detectors, the doorbell chime, and thermostat. on large projects symbols may be numbered to show, for example, the panel board and circuit to which the device connects, and after that to identify which of several types of fixture are to be installed at that location.

2005 chevy 1500 trailer wiring diagram wiring diagram center
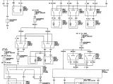
chevrolet transmission diagrams wiring diagram operations
A set of wiring diagrams may be required by the electrical inspection authority to take on membership of the address to the public electrical supply system.
Wiring diagrams will moreover attach panel schedules for circuit breaker panelboards, and riser diagrams for special facilities such as flare alarm or closed circuit television or extra special services.
You Might Also Like :
[gembloong_related_posts count=3]
2005 chevy silverado ignition wiring diagram another picture:

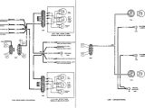
repair guides wiring diagrams wiring diagrams autozone com
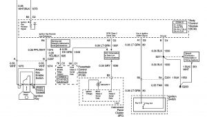
2005 silverado wiring diagram lighting wiring diagrams recent
repair guides wiring diagrams wiring diagrams autozone com

















